| Bolt Clamped High Power Transducers |
 |
Features: |
- High efficiency and output
- Large amplitude
- Low heat generation
- Durability and stability
- Easy connection
|
| Applications: |
- Ultrasonic cleaners
- Ultrasonic Welders
- Ultrasonic processing machines
|
| Model Number |
Resonant Frequency (KHz) |
Motion Admittance (mMho) |
Mechanic Q (Qm) |
Capacitance (pF) |
Allowable Vibaration Rate (cm/sec) |
| 30402S |
40.0 |
35 |
500 |
2700 |
50 |
| 45402H |
40.0 |
15 |
500 |
4000 |
50 |
| 45282H |
28.2 |
50 |
500 |
4000 |
50 |
| 60282H |
28.2 |
40 |
500 |
4000 |
25 |
All specification taken at 25 ¢XC |
| |
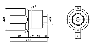
| Dimensions |
 |
 |
| 30402S |
45402H |
| |
|
 |
 |
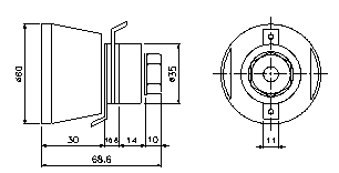
| 45282H |
60282H |
Top
|